View Sealand Vacuflush Parts Diagram Background

View Sealand Vacuflush Parts Diagram Background. Vacuflush systems use a small amount of water (a. 4.do not mount panel housing until wiring is routed and secured.

Sealand Rv Toilet Manual
Sealand Rv Toilet Manual from lh6.googleusercontent.com
Easily share your publications and get them in front of issuu's millions of monthly readers. Brendon grieve from motoryachts unlimited passes on his boat maintenance tips. Issuu is a digital publishing platform that makes it simple to publish magazines, catalogs, newspapers, books, and more online.

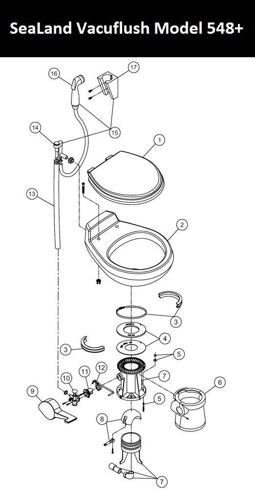
(includes items 3, 5, 6, 8 through 13).

Sur.ly for drupal sur.ly extension for both major drupal version is free of charge. Replacement parts for 2015 sealand items. Easily share your publications and get them in front of issuu's millions of monthly readers. 3 /16 inch mm wiring diagram vacuflush how the vacuflush system operates: