Download 4090Hk17 Parts Diagram Gif

Download 4090Hk17 Parts Diagram Gif. Need to fix your 4090hk17 wheeled gas compressor? Database contains 1 rolair 4090hk17 manuals (available for free online viewing or downloading in pdf):

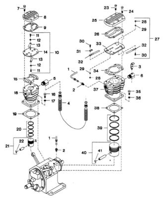
Oem Rolair Compressor Parts 4090hk17 Repair Videos Diagrams Fix Com
Oem Rolair Compressor Parts 4090hk17 Repair Videos Diagrams Fix Com from fixcom.azureedge.net
Rolair 4090hk17 manuals & user guides. Need to fix your 4090hk17 wheeled gas compressor? We have labeled, interactive, exploded diagrams of power equipment from many of the top manufacturers.

Rolair 4090hk17 manuals & user guides.

First contact and about the repair. About 6% of these are generator parts & accessories, 0% are voltage regulators/stabilizers. Rolair 4090hk17 wheeled gas compressor parts. Find the parts that you are looking for and enter the quantity needed in the boxes on the right of the page.