44+ Kia Optima Parts Diagram Gif

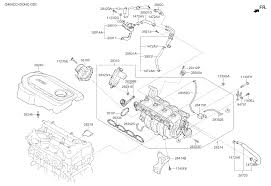
44+ Kia Optima Parts Diagram Gif. 2006 kia optima engine diagram. 127 kia optima workshop, owners, service and repair manuals.

Kia Optima Fuses 2011 2017 Box Location Chart Diagram Youcanic
Kia Optima Fuses 2011 2017 Box Location Chart Diagram Youcanic from asset.youcanic.com
We offer new, oem and aftermarket kia auto parts and accessories at kia sells highly popular automobiles like the optima, and they are regularly observed on roads in the united states. Kia optima accessories and parts: 127 kia optima workshop, owners, service and repair manuals.

We've checked the years that the manuals cover and.

Kia optima kia optima /. Serpentine belt routing diagram and timing belt diagram for a 04 kia optima 2.4l twin cams serpentine belt routing diagram and timing belt diagram for a 04 kia you need a service and repair manual for that vehicle, about 15 or 20 bucks at any parts store, and some librarys. 2006 kia optima engine diagram. If it's here, it definitely will be compatible with your new kia optima.